服装测试用假人结构分析
发布时间:2015-08-15 08:491 引言
在许多的人体着装实验中,经常会利用假人来代替真人进行测试, 这样不仅可以避免对人身安全造成的危险和生理上产生的负面影响, 而且可以进行长时间多次重复的繁琐试验, 并有利于降低成本和提高精度以及统一标准。 根据不同的研究目的, 服装测试用假人主要包括暖体假人、软体假人和 燃 烧 假 人 等。 其 中,暖体假人用以模拟人体、 服装和环境之间的热湿交换过程; 软体假人用来进行人体压力舒适性方面的研究; 燃烧假人则用来模拟热环境以评估防火隔热装备。针对这些服装测试用假人的研制与开发, 由于在研究中需要涉及到人体的运动, 因此对假人的模拟必然要考虑其可活动性。同时, 随着机械自动化技术的发展和实际应用的需要, 服装测试用假人也不应仅仅局限于可简单改变姿态和静态的动作模拟, 而应该对服装测试用假人的可活动性进行分析和设计, 来更为全面的模拟人体运动的系列动态, 从而可以更好更深入地满足各种实验的需求。
2 服装测试用假人的类型和特征
2.1 暖体假人
暖体假人是模拟人体、 服装统, 它的基本原理是采用微机控制的闭环温度自动调节系统来实现人体散热排汗功能的仿真系统, 通过模拟人体、 服装和环境之间的热湿交换过程, 并根据三者处于稳态热平衡时的状态参数来计算服装的热湿评价指标, 从而达到测试的目的[1,2]。 暖体假人的发展始于上世纪 40 年 代 美 国军需气候研究所研制的代暖 体 假 人 , 其只能用于服装热阻 的 一 般 测 试, 经 过 上 世 纪 60年代的多段式可模拟人体不同姿态的第二代暖体假人 , 到 目前的第三代可满足多种功能需求 的 暖 体 出 汗 假 人 , 其 应 用 范围也更为广泛[3,4]。暖体假人对人体动作姿态的模拟也从早的一个直立静态到现在的能模拟人体各种复杂的动作姿态。 许多国家在研制暖体假人时都会更多的考虑到假人的可活动性。 不过, 目前假人可活动性的研究与开发, 通常是在假人的肩、 肘、 髋和踝等部位设置有可以活动的关节, 仍需要借助外部力量才能模拟人体的动作姿态, 其关节的运动范围及定位采用的是轴承磨擦的方式[5], 不能定时、 定位和定速地来准确的模拟人体的系列动态。
2.2 软体假人
服装测试用软体假人是近年来发展起来的一种用于测试着装压力舒适性的模型。 由于要求对人体的体形结构及皮肤有很高的模拟程度, 因此对制作的材料要求比较高, 必须能很好地模拟人体肌肤的柔弹性质感, 才能满足服装着装舒适性及服装压力测试方面的研究。 2005 年香港理工大学纺织及制衣系的余咏文等人[6]开发了全球软体假人, 主要用于静态下的着装展示、 舒适性以及压力测试等研究。
为了使软体假人能满足动态体形实验的需要, 2008 年东华大学[7]研制了一种成年女性下体可动式软体假人。 该软体假人内层采用标准骨骼模型作为基本部件, 外层采用类似于人体肌肤质感的材料, 并通过在髋关节和膝关节处设置人工关节以及气囊装置, 使其能够模拟人体站立、 弯腰、 下蹲等姿态。 其中, 该假人的髋关节是采用球形轴承摩擦的驱动方式, 而膝关节则采用手动调节涡轮涡杆传动的驱动方式,尚不能从假人内部对其可活动性进行定时定速的调控。
2.3 燃烧假人
燃烧假人是在实验室条件下模拟人体在一个热流量、 火焰分布和持续时间均可控的燃烧环境中, 通过对服装和假人皮肤表面的信息检测, 用相应的皮肤烧伤指数,来客观定量地评价人体的烧伤程度和防护服的整体热防护性能[8]。 燃烧假人早起源于 1962年美国海军所使用的男性假人用以测试空军服装热防护性能, 上世 纪 80 年代明尼苏达大学也建造了一个身上表层装有 44 个 热电偶传感器的成年女性燃烧假人, 到 上 世 纪 80 年 代 末, 加 拿大阿尔伯特大学也研制了一个类似于海军所的假人, 该假人表面安装了 110 个热流量传感器。 近几年较为代表的是美国北卡州立大学和加拿大阿尔伯特大学人类生态学系防护设备中心研制的燃烧假人系统, 所开发的产品基本都能满足热防护服装整体性能的评价实验要求[9,10]。
目前针对燃烧假人的可活动性主要有 3 种方法对人体运动进行模拟。 种方法是通过在燃烧假人的肩、 肘、 髋、 膝和踝等部位设置关节, 利用轴承磨擦及外部力量用以模拟人体的各种姿态[10]。 这种方式不能对人体动态进行定时定速的模拟。 第二种方法是利用轨道定速移动燃烧假人通过均匀燃烧的火环境, 通过轨道及可移动的燃烧器来模拟人体在火场中的反应。 这种方法的局限性在于假人本体的运动速度仅仅相当于改变了身体表面相对的热流量, 不能反应人体在奔跑时的实际情况。 第三种方法是通过局部的动态调控对燃烧假人的动态 模 拟 , Wallace 和 Amotz 等 人研制了一种模拟人体腿部的燃烧模型, 如图 1 所示。 该燃烧模型在髋、 膝和踝部位分别设置了轴关节, 并通过可以调控速度的驱动装置来模拟人体在燃烧环境下奔跑的情况, 用来研究裤装在运动状态下的安全防护性能。 但此燃烧模型仅限于人体的局部形态, 不能对整个人体的动作形态进行模拟。
3 假人可活动性的分析与设计
3.1 驱动
对服装测试用假人来说, 由于其形态特征以及需进行速度和动态控制等要求, 采用电力驱动是一种比较理想的方式。 电力驱动具有电源方便、 响应迅速、 驱动力大、 信号检测处理方便和控制灵活等优点。 驱动电机可以采用交流或直流伺服电机并附带减速机构。 不过, 好还是采用无减速机构的大转矩 、 低 转 速 电机, 以简化机构和提高控制精度[12 ]。 同时, 在设计时应该考虑到特殊条件下的情况并采取相应的措施, 如高温环境下测试用的燃烧假人必须考虑热辐射产生的影响。
3.2 关节
人体的运动系统是以骨骼为杠 杆 , 关 节 为 转 轴 , 肌 肉 的 收缩为动力而形成的 , 其 中 关 节主 要 包 括 髁 状 、 滑 动 、 枢 轴 和鞍 状 等 类 型 [13]。 服 装 测 试 用 假人的可活动性通常需要涉及的关 节 有 肩 关 节 、 肘 关 节 、 髋 关节、 膝关节和脊柱等 , 所 涉 及的运动主要是屈伸 、 内 外 展 和内 外 旋 。 尽管假人与真人的仿真 程 度 越 高 越 好 , 但 从 服 装 实验的实际应用和假人设计方案的可实施性的角度考虑 , 假 人可活动性的模拟主要还是采用旋 转 关 节 , 利用单个或多个旋转关节基本上可以满足其不同运 动 形 态 的 需 要 。 当 然 , 假 人各个关节部位电机的大小应该尽量符合相应人体关节的尺寸要求。
3.3 结构
服装测试用假人的结构与人体类似, 由头、 躯干、 上肢和下肢 组 成 , 分 别 由 肩 关 节 、 肘 关节、 髋关节、 膝关节和踝关节联接而成。 为了达到要求, 在躯干固定的情况下上肢和下肢至少应该分别具有 3 个自由度。 由于假人可活动性的模拟主要是用来再现人体的运动及其姿态, 只需要在固定的空间范围内运动即可,而不需要考虑类似于行走机器人那样的动态平衡, 因此在结构设计时应尽量在满足要求的情况下减少假人的自由度, 以简化操作和控制系统。 另外, 在结构设计时还必须要考虑衣服穿脱的方便性。
3.4 控制
由于假人是一个空间开链机构 , 其各个关节的运动是独立的, 为了再现四肢的运动轨迹,需要多个关节的运动协调, 需要将多个独立的伺服系统有机地协调起来, 通过计算机软件设定的程序来完成需要的运动。 假人的控制方式应该采用轨迹式, 假人的手足应按照示教的轨迹和运动速度来满足实验的要求。 在实验中还常常需要假人保持不同的动作姿态, 因而还需要在各个关节部位安装制动器, 制动器应该尽可能放在系统驱动的输入端以保证其具有较高的定位精度[14]。
3.5 实例
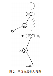
为了满足服装实验时对人体运动模拟的要求 , 并 尽 可 能 简化结构和方便操控 , 可 以 将 假人的头和躯干固定 , 上 肢 和 下肢的运动分别设置成 3 个 自 由度, 其肩关节和髋关节分别为 2个 自 由 度 , 肘关节和膝关节分别为 1 个 自 由 度, 如 图 2 所 示。
该假人可以采用电机从内部驱动 , 通过计算机程序进行轨迹控制来模拟人体的运动时的速度 和 姿 态 。 这 样 , 假 人 就 可 以根据需要定时定速的做前屈和后 伸 、 内收和外展范围内的运动 , 来 准 确 地 模 拟 人 体 行 走 、跑步和骑自行车等实验。
和环境之间热湿交换的仿真系

4 假人可活动性的发展动向
4.1 系列动态的模拟
虽然目前开发的服装测试用假人可以摆出人体多种复杂的动作姿态, 但是要完成一系列的连续人体运动项目尚需继续研究。尤其是人体的着装实验通常要涉及 到 不 同 的 运 动 形 态 , 例 如 行走、 跑步和攀爬等, 其连续的系列动态情况下的人体生理特征以及变化将不同于静止的各个动作姿态, 得到的实验结果也会不同于静止的动作姿态。 因此, 服装测试用假人对人体的系列动态模拟将是未来研究的一个重要方向。
4.2 形态仿真的完善
要逼真的模拟人体各种动态体形, 假人关节部位的制作工艺和材料也是需要深入研究的方面。 特别是对于软体假人, 对材料的性能特征要求相当高, 既要求有类似于人体肌肤的质感又要具有肌肤良好的延展性, 如果所用的材料太软则难以模拟的人体外形, 如果所用的材料太硬则难以伸缩而不能模拟关节的运动。虽然目前的软体假人可以模拟人体的多种姿态, 但要达到与人体活动范围非常接近的程度, 必然还要对其制作的材料进一步研究和开发。 另外, 对于暖体假人和燃烧假人来说, 由于要满足关节活动的需要而在接缝处形成的空隙, 会在研究人体与服装之间的微气候造成一定的影响, 也是未来需要改进和完善的。
5 结语
要使服装测试用假人能更好地满足各种需求的着装实验, 对假人的可活动性功能的进一步深入研究必不可少。 当然, 这不仅需要利用服装行业和人类工效学方面的知识经验和技术, 也需要充分利用其他行业相对成熟的技术成果, 如机器人技术、 机械自动化与控制技术等, 来更好地改善和提高服装测试用假人的可活动性功能。
更多关于 服装测试用假人:http://www.ranshaojairen.com/productlist/list-5-1.html





